The Ballistic Identification Number System
™
A Giant Step Forward In Forensic Science
Home
Table of Contents
Prologue
Forensic Technology Today
What is the BIN Number?
The Numbers Behind the Numbers
Practical Application
Ballistic Liability Insurance
The BIN Number and Forensic Science
The Public Cost of Gun Violence
The Integrated BIN System
Epilogue
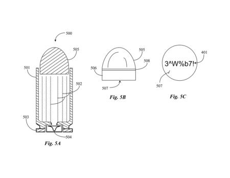
The Patent
The Drawings
Let's Talk About It
View on Mobile